Automotive terminal connectors in the field of automotive wiring harness are an important part of the field, but also directly determine the connector signal and power transmission of important nodes. With the rapid development of China's automotive industry, the continuous improvement of the field of automotive parts also promotes the automotive connector to a more refined and reliable development.
By reviewing the past problems in the use of connector terminals, we found that the following factors will affect the ability to transmit terminals: materials, design structure, surface quality, and crimping.
The material of the terminal
Taking into account the functionality and economy, the domestic connector industry usually uses two materials: brass and bronze. Brass is usually conducive to good, but more flexible bronze. Given the plug and socket terminals in the structure of the differences, generally prioritize the use of plug terminals rather than the more conductive brass. The socket terminals themselves usually have a flexible design, taking into account the conductivity requirements, and usually choose bronze materials to ensure the reliability of the terminal shrapnel.
For relatively stringent conductivity requirements of the socket terminals, due to the conductivity of the bronze material being unable to meet the requirements, the general practice is to choose brass socket terminal materials, taking into account the defects of the brass material itself is less flexible, the elasticity will be reduced. In the structure increase the rigid support structure to increase the elasticity of the terminals. As shown in Figure (1).
Figure 1 Structure diagram of socket terminal with rigid support
In the above description of the terminal structure with rigid support in Figure (2), the rigid support structure improves the positive pressure of the conductive laminating surface, thus improving the conductive reliability of the product.
Figure 2 Picture of socket terminal with rigid support
The design of the structure
In essence, the structure of the design is essentially open source to minimize the cost of raw materials, while maintaining the power transmission of the terminals. Therefore, the connector terminals are most vulnerable to the impact of power transmission as part of their “bottleneck” structure, which refers to the terminals in the conductive surface of the smallest cross-section of the structure. As shown in Figure (3), the structure directly affects the current-carrying capacity of the terminal.
Figure 3 Schematic diagram of terminal expansion
Figure 3b shows that the cross-sectional area of S1 is larger than S2, so the cross-section of B-B is in the bottleneck state. This indicates that, in the design process, the cross-section must meet the conductive needs of the terminal.
The surface plating
In most connectors, tin plating is a relatively common plating method. The disadvantages of tin plating include the following two: first of all, tin plating will lead to reduced solderability and increased contact resistance, which mainly stems from the plating and metal intermetallic protection between the metal. Secondly, the plated contact material has a higher surface friction compared to the plated metal, which leads to an increase in the insertion force of the connector, especially in multi-wire connectors.
Therefore, for the plating of multiwire connectors, new plating processes are used wherever possible to ensure connection transfer while reducing insertion current. For example, gold plating is a good plating process.
From a micro-physical point of view, any smooth surface has a rough and uneven surface, so the contact of the terminals is a point contact rather than a surface contact. In addition, most metal surfaces are covered by non-conductive oxide and other types of film layers, so only in the true sense of the electrical contact points - called “conductive spots - is it possible to have electrical contact.
As the majority of the contact is through the film contact, when the current is through the two contact parts of the interface, it will focus on those very small conductive spots.
Therefore, in the vicinity of the conductive spots of the current line will be contracted, which leads to an increase in the length of the path of the current flow, and the effective conductive area is reduced. This localized resistance is called “shrinkage resistance” and improves the surface finish and transmission properties of the terminals.
Currently, there are two criteria for evaluating the quality of the plating: first, evaluating the thickness of the plating. This method evaluates the quality of the coating by measuring the thickness of the coating. Second, the quality of the plating is evaluated using an appropriate salt spray test.
The positive pressure of the terminal shrapnel
Connector terminal positive pressure is an important indicator of connector performance, directly affecting the terminal insertion force and electrical properties. It refers to the connector plug terminal and socket terminal contact surface perpendicular to the contact surface force.
In the use of terminals, the most common problem is the insertion force between the terminal and the terminal control is not stable. This is due to the unstable positive pressure on the terminal shrapnel, which leads to an increase in the resistance of the terminal contact surface. This leads to an increase in the temperature rise of the terminals, resulting in connector burnout and loss of conductivity, or even in extreme cases, burnout.
According to QC/T417 [1], the contact resistance is the resistance between the contact points of a connector and includes the following factors: the intrinsic resistance of the terminals, the resistance resulting from the crimping of the conductors, the resistance of the wire at the point of reference, and the resistance of the shrapnel of the plug and socket terminals in contact (Fig. 4).
Terminal material mainly affects the intrinsic resistance, the crimping quality of the product affects the resistance generated by the conductor crimp, the plug terminal and socket terminal shrapnel in contact with the resistance generated by the conductive characteristics of the terminal, and the temperature rise of the value of a significant impact. Therefore, in the design of key considerations.
Figure 4 Schematic diagram of contact resistance
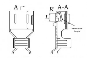
Positive pressure on the terminal depends on the elasticity of the end of the bullet tongue. The bending radius R and the cantilever length L of the tongue have a direct influence on this value and must be taken into account during the design process. The structure of the terminal shrapnel is shown in Figure 5.
Figure 5 Schematic diagram of terminal shrapnel structure
Tail crimping
The transmission quality of the terminal is directly affected by the crimping quality of the terminal. The engagement length and height of the crimp have a significant impact on the crimp quality. A tight crimp has better mechanical strength and electrical properties, so the dimensions of the crimp section should be strictly controlled. The diameter of the wire is an important factor influencing the crimping effect between the terminal and the wire.
In addition, the wire itself is also worth studying, because domestic and foreign products have their own unique characteristics. In actual production, the following principles should be observed: the wire diameter should be matched with the end of the terminal, the length of the head part should be moderate, and the appropriate crimping mold, crimping after the Rattori test.
Check the terminal crimping methods including checking the terminal crimping profile and pull-off force. By checking the profile, you can visually assess the crimping results to ensure that there are no defects such as missing copper wires or bottoming out. In addition, the pull-off force assesses the reliability of the crimp.
Post time: Jul-18-2024




